证券时报
胡华雄
2025-12-25 12:41
王思聪名下资产被法拍。
天眼查天眼风险信息显示,近日,大连市中级人民法院发布拍卖公告,拍卖标的为北京普思投资有限公司(简称“普思投资”)名下上海麦戟文化传播有限公司(简称“麦戟文化”)8%的股权。公告显示,该部分股权价值评估值为-166.62万元,以评估费等必要费用作为该标的起拍价,起拍价为10.75万元,保证金1万元,增价幅度0.1万元。

工商信息显示,普思投资成立于2009年12月,法定代表人为王思聪,注册资本2000万元人民币,经营范围包括项目投资、投资管理、投资咨询等,由王思聪全资持股。


此次被拍卖的麦戟文化,是普思投资在2019年A+轮入局的项目,当时公司主打“沉浸式真人互动游戏剧”,曾凭借《隐形守护者》等爆款收获一波流量,被视作“线下剧本杀+线上互动剧”赛道明星。然而,2024年该公司被曝出大规模裁员、关店,最终被法院列入被执行人名单。
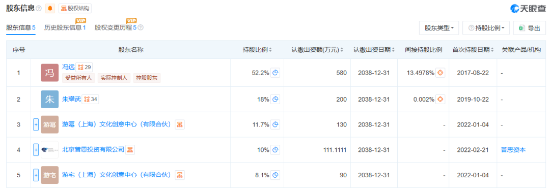
股权结构信息显示,经过2022年战略融资后,麦戟文化形成了多元化股权格局,其中冯远持股52.2%为控股股东,朱耀武持股18%,游幂(上海)文化创意中心持股11.7%;北京普思投资原本持股10%,此次被拍卖的8%股权为其持有的部分股份。

据了解,普思投资作为王思聪最重要的投资平台之一,曾宣称累计管理资产规模超过10亿美元,先后押注熊猫互娱、英雄互娱、360、笑果文化等近80个项目。然而,近年来受直播、电竞、内容创业赛道降温及宏观融资环境收紧影响,普思系多次被列为被执行人,现金流压力骤增。
综合自:界面新闻、企查查、天眼查等
责编:李丹
校对:陶谦